Jiangsu Xuben Photoelectric Technology Co, Ltd.
Jiangsu Xuben Photoelectric Technology Co, Ltd.
Mga produkto
SC/APC SX Adapter (walang flange)
  • SC/APC SX Adapter (walang flange)SC/APC SX Adapter (walang flange)

SC/APC SX Adapter (walang flange)

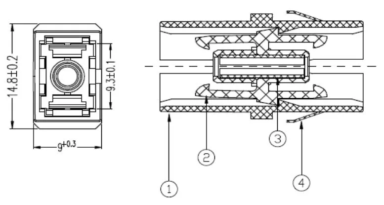
Customer PN:1000053203Rev:A.1Inaprubahan ng:C.C.Petsa:07/10/2024Paglalarawan ng Produkto:Ang Fiber Optic Adapter, na tinatawag ding Coupler, ay isang maliit na aparato na idinisenyo upang wakasan o maiugnay ang mga fiber optic cable o fiber optic connectors sa pagitan ng dalawang linya ng hibla ng o......
Customer PN: 1000053203 Rev: A.1
Inaprubahan ng: C.C. Petsa: 07/10/2024


Paglalarawan ng Produkto:

Ang Fiber Optic Adapter, na tinatawag ding Coupler, ay isang maliit na aparato na idinisenyo upang wakasan o maiugnay ang mga fiber optic cable o fiber optic connectors sa pagitan ng dalawang linya ng hibla ng optic sa pamamagitan ng pag -link ng dalawang konektor nang tumpak, pinapayagan ng mga adaptor na optic na hibla ng mga ilaw na mapagkukunan na maipadala nang karamihan at mas mababa ang pagkawala hangga't maaari. Kasabay nito, ang mga fiber optic adapter ay may mga merito ng mababang pagkawala ng pagpasok, mahusay na pagpapalitan at muling paggawa.


Application:

● Mga network ng telecommunication

● Mga Lokal na Network ng Lugar (LAN)

● Sistema ng komunikasyon

● Pag -install ng Premise

● Malawak na mga network ng lugar (wans)

● Paghahatid ng video

● Mga koneksyon sa pagitan ng mga patch cord

● fttx, catv

● Mga koneksyon sa pagitan ng mga aparato

● Compliancy Rohs

● Katawan ng solong-piraso


Mga pagtutukoy sa pagganap:

Parameter SC/ APC Adapter
Estilo ng Katawan Simplex
Mode ng Fiber ng Konektor Solong mode
Kulay Berde
Materyal ng manggas Ceramic
Pagkawala ng insertion ≤0.2db
Pagkawala ng Alternation ≤0.2db
Pag -uulit ≤0.2db
Tibay Ang pagbabago ng 1000 mga oras ng interpolasyon ay mas mababa sa 0.2dB
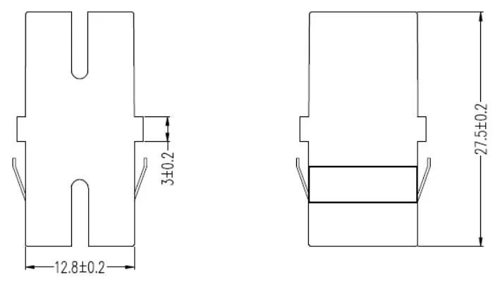
Dimensyon ng Package (L) × (W) × (H) 27.5x14.8x9 mm
Temperatura ng pagtatrabaho -40 ~ 85 ° C.
Temperatura ng imbakan -40 ~ 85 ° C.


Mapa ng Sketch:

SC/APC SX Adapter (Without Flange) SpecSC/APC SX Adapter (Without Flange) Spec



Mga Hot Tags: SC/APC SX Adapter (walang flange)
Magpadala ng Inquiry
Impormasyon sa Pakikipag-ugnayan
Para sa mga katanungan tungkol sa aming mga produkto o pricelist, mangyaring iwanan ang iyong email sa amin at makikipag -ugnay kami sa loob ng 24 na oras.
X
We use cookies to offer you a better browsing experience, analyze site traffic and personalize content. By using this site, you agree to our use of cookies. Privacy Policy
Reject Accept